Austin Insulators Inc. home | about | products | support |contact us    

Austin Insulators Inc.
suppliers of RF insulators and transformers since 1933

   
       

 

Products:  
Self Supporting  
Base Insulator  
TYPES:  
A-2812(-C)  

Profile 
Dimensions 

 

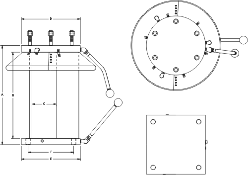
Austin Base Insulators for Self Supporting Radio Towers and Masts
TYPES A-2812(-C)

 

   
         
       
  Dimensions    
 
Type A B C D E F Mast Fixing Insulator Mounting Net Weight
A-2812 36.75"
933 mm
32"
813 mm
9.375"
238 mm
dia.
22"
559 mm
dia.
22"
559 mm
dia.
  6 studs
5-3/4 " (146mm) long
1-1/8" (29mm)
dia. 12 TPI
on 18" (457mm)
BCD
6 studs
5-3/4 " (146mm) long
1-1/8" (29mm)
dia. 12 TPI
on 18" (457mm)
BCD
850 lb
386 kg
A-2812-C 36.75"
933 mm
32"
813 mm
9.375"
238 mm
dia.
22"
559 mm
dia.
22"
559 mm
square
17"
432 mm
6 studs
5-3/4 " (146mm) long
1-1/8" (29mm)
dia. 12 TPI
on 18" (457mm)
BCD
4 holes drilled
1-5/8" (41mm)
square base
826 lb
375 kg
   
 

  • All Austin Insulator bases are designed for VLF, LF, and MF use, and are conservatively rated. Choose the unit that will meet your requirements for working download, working uplift, shear and RF operating voltage.
  • If you have a requirement which we do not seem to meet or you wish us to recommend a suitable insulator, please contact us and supply us with as much relevant information as possible.
   
       
 

home | about | products | support | contact us

   
       
  Copyright © 2002 Austin Insulators Inc. All rights reserved.